公司地址:襄陽市樊城區春園西路賈洼工業園 郵箱:xfycdq@163.com
一、水電阻的基本原理
靠溶解在水中的電解質(Na2CO3)離子導電,電解質充滿于兩個平面極板之間,構成一個電容狀的導電體,自身無感性元件,故與頻敏、電抗器等起動設備相比,有提高電動機的功率因數,節能降耗的功能。

水電阻串入電動機定子回路以后,不僅能改變電動機的轉差率S,達到調速的目的,還能增加電動機起動時的轉矩,減小起動電流。具有平滑無級調速,并可使轉速達到額定轉速。源創YLQ系列水阻調速器是以改變串入電機轉子回路的水電阻來調節電機轉速的,電阻越大,電機轉速越低;電阻為零,電機達到全速。

二、技術特點
1、平滑起動:對設備無機械應力沖擊,可延長電機和機械設備的使用壽命。
2、起動電流小且恒定,對電網無沖擊。起動電流小于額定電流的1 .3倍。可以降低電機重載起動對變壓器容量的要求,減小一次性投資。
3、可連續起動5-10次,且具有點動功能。
4、可低壓起動。只要電網電壓能保證電機正常運行,就能保證順利起動。
5、具有起動超時、超溫、失壓、超行程等多重保護功能。
6、結構簡單、可靠、全部操作自動化、安裝、維護方便。
三、液阻的配制與測量
⑴ 起動電阻的確定
串入電機轉子回路的相間電阻值R0,應按下式確定:
2U2e I1e
R0= ━━━━━━━━━━━━━━━━━━━━━
√3 I2e K I1
U2e:轉子開路電路 I2e:轉子額定電流
I1e:定子額定電流 I1 :定子運行電流 K:常數(1.1~1.3之間)
⑵ 液阻的配制
1、將動極移到起始位置(轉動皮帶輪移動極板),加入清水至水箱規定水位的3/4處;
2、將電解粉與清水按3%的配比注入三個水箱,然后移動動極板次數,使溶液濃度均勻后將動極板復位;
3、測量任兩極之間的電阻R,若R值在R0范圍內,配制即完成,若R偏大,則適當增加電解粉,使液體濃度增加,若R偏小則加入適量清水。
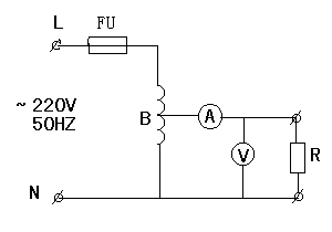
⑶ 液阻的測量
將液阻的動極板移到起始位置后,在任兩極板間通入10A左右、50HZ的電流I,測量兩極間的壓降U,阻值按下式計算:
U(V)
R(Ω)= ━━━━━━
I(A)
測量電路如下:
訂貨時請提供以下資料:
·電動機型號、額定功率、額定轉子電流、轉子電壓、額定轉速;
·電動機拖動負載特性;
·柜體表面顏色要求;
·通訊接口要求;
·若用戶有特殊要求請與我公司協商訂制。
上一篇:液體電阻起動柜工作原理
下一篇:詳細講解常見電動機啟動方式




(不想等待可點擊按鈕通過QQ進行溝通,或直接電聯。)
關閉